This year, the United States Patent and Trademark Office (USPTO) granted several important patents claiming important innovations in 6G networks, generating reliable mapping data for autonomous vehicles and pest-resistant genetically modified crops. With the new year just days away, we hope the following list of the top 10 patents of 2025 will spark interest in the state of global innovation as we reach the final stages of the year.
#1: US Patent No. 12389294, Framework for a 6G Ubiquitous Access Network
By 2024, approximately five years after the advent of 5G networks, at least 2,549 types of 5G devices in 29 form factors were commercially available, with the number of global 5G connections reaching nearly 2 billion in the first quarter of 2024. 6G networks, expected to be commercially available in the 2030s, will support connection densities of 10 to 100 times more high per square kilometer and will increase device diversity by enabling low-power and low-power devices to connect to the Internet of Things.
This year’s most important patent was issued in August to AT&T and claims a method of identifying applications on user equipment that are alternatively executable over a terrestrial radio network or a satellite network, and repurposing the execution of that application when that repurposing facilitates increased network coverage and increased bandwidth. The claimed invention aims to enable ubiquitous connectivity by integrating Wi-Fi, 5G and Long Term Evolution (LTE) networks with satellite networks.
#2: US Patent No. 12223593, Misalignment hotspot detection for high-definition maps for autonomous vehicle navigation
In the ten years since Tesla first launched its Autopilot self-driving mode, no vehicle sold in the United States has met Level 5 full automation standards, according to the National Highway Traffic Safety Administration (NHTSA). Yet a patchwork regulatory system regarding insurance and road testing for self-driving cars is quickly coming together, with 67 related bills introduced in legislatures in 25 states this year alone.
Our second-place patent this year, issued to Nvidia in February, addresses a major hurdle for self-driving cars by providing an efficient method for keeping road condition information up to date. The method of the ‘593 patent generates map data by performing cross-lane pairwise alignments with data collected from multiple vehicles, determining pairwise relative transformations, and then aligning the lane data. The claimed system can also receive other modifications via a user interface displaying the likelihood of misalignment between stored map data and current road conditions.
#3: US Patent No. 12428650, Corn event 5307
Corn is perhaps the most important crop grown in the United States, where it accounted for $63.4 billion of the $242.7 billion in cash receipts from U.S. crop sales in 2024. Insects continue to be a major problem hampering U.S. corn production, with invertebrate pests reducing corn yield by 4% in 2024 in 29 states, according to the Crop Protection Network.
This year’s third-place patent, issued in September to Swiss company Syngenta Crop Protection, claims a transgenic corn plant with an insecticidal toxin gene incorporated into its genome. As the ‘650 patent notes, the impact of pesticides on beneficial organisms and the emergence of pesticide-resistant insects have necessitated alternative pest control strategies. The claimed invention also involves a gene encoding a phosphomannose isomerase enzyme, as well as
h other isolated nucleic acid sequences useful for detecting the transgenic event producing the insecticidal gene.
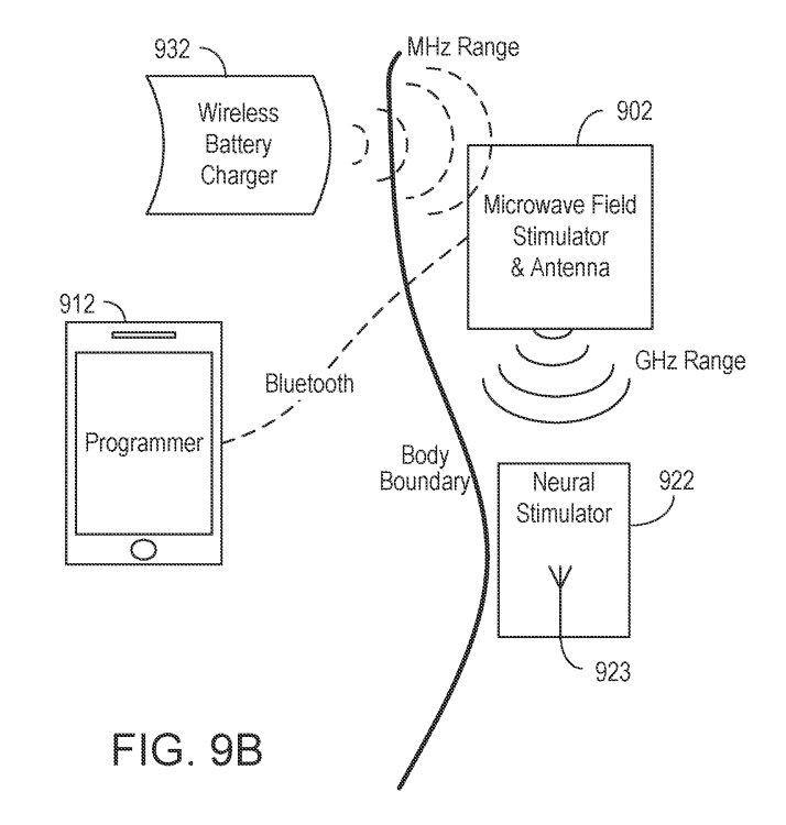
#4: US Patent No. 12296173, Circuit for an implantable device
By 2023, about a quarter of U.S. adults suffered from chronic pain lasting three months or more, according to data from the Centers for Disease Control and Prevention. The ‘173 patent, issued in May to Florida-based medical equipment developer Curonix, claims an implantable device with electrodes that deliver electrical pulses to neural tissue and a dipole antenna that wirelessly receives energy via electrical radiative coupling, allowing the device to stimulate nerve bundles. Stimulation of these nerve bundles has therapeutic effects on patients with chronic pain and other disorders, including inflammation, arthritis, and sleep apnea.
#5: US Patent No. 12443942, Systems and Methods for Recording Blockchain Transactions
The gap between decentralized blockchain and traditional financial institutions has been closed in fits and starts with the U.S. Securities and Exchange Commission’s recent announcement of a pilot program to tokenize certain securities starting next year. The ‘942 patent, issued to NASDAQ in October, addresses current issues related to implementing anonymous transaction records in environments requiring transparency or auditability. The claimed system electronically stores digital wallets having blockchain addresses generated based on private cryptographic keys, and processes transactions by exchanging resources such as stocks and generating hash identifiers based on digital wallet data that is included in the blockchain of the distributed ledger system.
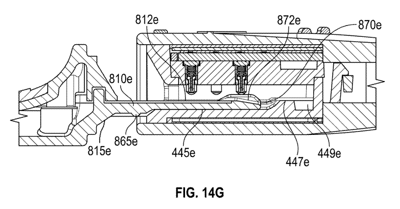
#6: US Patent No. 12374843, Pogo pin connector
California health technology developer Masimo has successfully demonstrated the value of its light-based sensor portfolio in recent weeks, winning a $634 million jury verdict in Central California against consumer electronics giant Apple for wearable pulse oximetry technology. The ‘843 patent, issued to Masimo last July, claims a connector and sensor assembly that provides non-invasive physiological monitoring of a patient using light or transmitted sound, with the connector having a plurality of pogo pins that accommodate sensors capable of measuring a wider variety of bodily functions.
#7: US Patent No. 12215365, Case Variants for Gene Editing
Clustered regularly interspaced short palindromic repeat (CRISPR) systems using CRISPR-associated proteins (Cas) enable highly precise genome editing, and a major patent battle in this sector was reignited in May when the Federal Circuit overturned a finding of patent interference for Broad University and Harvard University over rival CRISPR-Cas9 developer UC Berkeley. The ‘365 patent, issued to Harvard in February, claims a multimolecular complex containing a cytidine deaminase, a Cas9 variant protein, and a unique guide RNA that corrects a point mutation and introduces a stop codon into a DNA sequence associated with a genetic disorder.
#8: US Patent No. 12407712, Cybersecurity analyst in artificial intelligence
The U.S. federal government is currently exploring its applications in healthcare, the military and more. The ‘712 patent, issued in September to British company Darktrace Holdings, claims a method for conducting investigations into real and synthesized cyber threats with the use of an AI-based cybersecurity analyst with an analysis module that forms hypotheses about possible threats. The AI analyst classifies these threats according to a trust scheme and then presents them to human users in a readable format.
#9: US Patent No. 12258397, Production of Sleeping Beauty transposon-modified T cells coupled with methotrexate selection
Two cancer immunotherapy studies published in late 2025 reflect important advances in artificial T-cell therapies, a much faster treatment than conventional methods of harvesting T cells. The ‘397 patent, issued in March to the University of Washington, claims a method for generating multiplexed T cells using minicircles, plasmid derivatives useful in the delivery of transgenes that contain no bacterial DNA sequences, which can be seen by the organism as foreign.
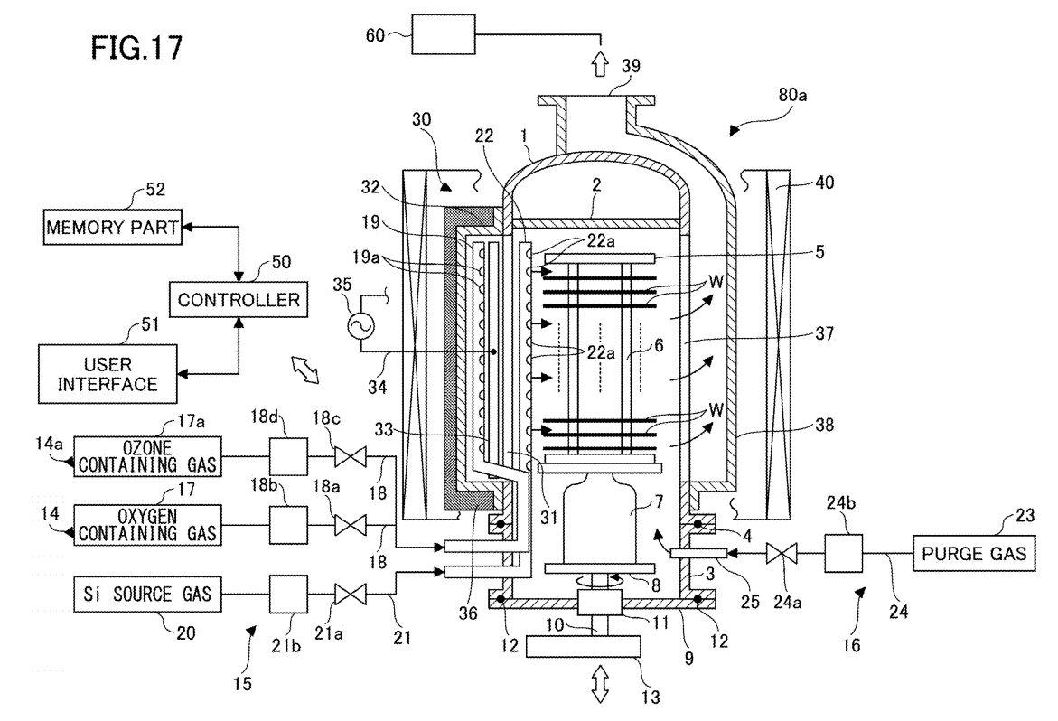
#10: US Patent No. 12288671, Film deposition apparatus for forming fine patterns
Global semiconductor sales are on track to grow 22.5% through 2025, and revenues in 2026 are expected to increase further to nearly $1 trillion, according to the Semiconductor Industry Association. The ‘671 patent, issued to Tokyo Electron in April, claims a film deposition apparatus having a processing chamber supplied with both oxygen and source gases used in a thinning process during mask pattern formation. The configuration reduces the thinning process such that the costs of forming fine patterns during semiconductor manufacturing are also reduced.



#1: US Patent No. 12389294, Framework for a 6G Ubiquitous Access Network
#2: US Patent No. 12223593, Misalignment hotspot detection for high-definition maps for autonomous vehicle navigation
#3: US Patent No. 12428650, Corn event 5307
#5: US Patent No. 12443942, Systems and Methods for Recording Blockchain Transactions
#6: US Patent No. 12374843, Pogo pin connector
#7: US Patent No. 12215365, Case Variants for Gene Editing
#8: US Patent No. 12407712, Cybersecurity analyst in artificial intelligence
#9: US Patent No. 12258397, Production of Sleeping Beauty transposon-modified T cells coupled with methotrexate selection
#10: US Patent No. 12288671, Film deposition apparatus for forming fine patterns